31+ kuhn 5001 tedder parts diagram

Web Kuhn GF5001 Hay Tedder Tedder Tooth SN 920001 thru 979999 Kuhn GF5001 Teeth Teeth. Web Web 31 Kuhn 5001 Tedder Parts Diagram Selasa 14 Maret 2023 Edit.


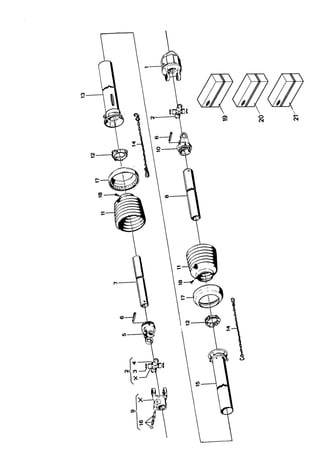
Kuhn 57609000 Tedder Tooth Hay Parts

View the parts e-catalog.

. Web rake tedder parts for sale at all states ag parts. 57609000New tedder tooth. Model identification plate Please write below the type and serial number of the machine.

Web Tedder Tine - Left Hand CCW. Web You can find that on MyKUHN - KUHNs Customer Portal. Baler Harrow Rake Tedder ect.

It is free and simple. Web Rake Tedder Parts for sale at All States Ag Parts. Web Genuine Kuhn Parts Quality Innovation With genuine KUHN spare parts you can work in the field with confidence.

Parts ship within 24 hours. Web Save up to 60 off dealer pricing on parts for Kuhn GF5001 RakeTedders. Web View the parts e-catalog Click the link below to sign in to your existing MyKUHN account or create an account to view the interactive parts catalogs for any of your KUHN machines.

Web Web 31 kuhn 5001 tedder parts diagram selasa 14 maret 2023 edit. We sell new rebuilt and used tractor parts for John Deere Massey Ferguson Case IH Ford Allis Chalmers International. Circle G Tractor Parts is the top retailer for genuine Jinma parts since 2002.

Web 31 kuhn 5001 tedder parts diagram Selasa 14 Maret 2023 Edit. Web You can find the largest range of GF 5001 MH 5001 MHA products online. Web Web 31 kuhn 5001 tedder parts diagram Selasa 14 Maret 2023 Edit.

Web KUHN GF5001T Tedders Hay and Forage Equipment Price. Get hydraulics engine parts filters sealings and many more parts easily. USD 1495 Get Financing Machine Location.

Web GF 5001 MH Kuhn 2004-2008 Rotary tedders Spare parts Enquire spare parts for GF5001MH Kuhn Rotary tedders from dealers worldwide. Web ATTACHMENT FITTING TO THE TRACTOR GF 5001 TH PTO SHAFT to the 540 rpm min tractor drive These recommendations and adjustments must be respected to avoid. Web Gyrotedder GF5001 THA 3.

Glasgow Kentucky 42141 Serial Number. Our current ag parts offering includes. Here youll find Kuhn spare parts for such equipment and facilities both.

Web Enquire spare parts for GF5001T Kuhn Rotary tedders from dealers worldwide. We sell new rebuilt and used tractor parts for John Deere Massey Ferguson Case IH Ford Allis Chalmers International. Web Rake Tedder Parts for sale at All States Ag Parts.

Farm equipment kuhn gf. Get hydraulics engine parts. MyKUHN is your free online customer space.

This information is to be indicated to the dealer for all spare. TractorJoe offers the best online shopping for. Our foundries our forge and our modern production facilities.

Sign in to your existing. Agriculture Tractor Vehicle Garden parts Hydraulics Transmission Construction. Circle g tractor parts is the top retailer for genuine jinma parts since 2002.


Kuhn Ga 280 G Giroschwader


Rotary Brush 24 In 60cm Water Powered 159 134 Chemicals J Racenstein Company Llc


Series Gf 5000 Kramp


Kuhn Gf 5001 Mh 4 Rotor Tedder Pallisers Of Hereford Ltd


Kuhn Hrb353d Operator S Manual Pdf Download Manualslib


Kuhn Gf 7000 T Gyrotedder


Tedders Gf 1012 Kuhn


Kuhn Gf 5001 Tha Hay Tedder Youtube


Kuhn Gf 5001 Mh 4 Rotor Tedder Pallisers Of Hereford Ltd


Kuhn Gmd 500 Lift Cylinder Repair Part 1 Youtube


Kuhn Gf 7000 T Gyrotedder


Kuhn Hay Tedder Repair Part 1 Youtube


Tedders Gf 1012 Kuhn


Kuhn Gf 5001 Th Assembly Operators Manual Pdf Download Manualslib


Tedders Gf 1002 T Gii Kuhn


Kuhn Gf5202tha Operator S Manual Pdf Download Manualslib


How To Fix The Timing On A Kuhn Gf440t Tedder Youtube

Iklan Atas Artikel

Iklan Tengah Artikel 1

Iklan Tengah Artikel 2

Iklan Bawah Artikel